Книга: Автоматические и ручные регулировки в радиовещательной аппаратуре

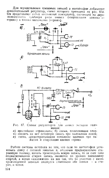
В книге описано свыше ста практических схем ручных и автоматических регуляторов, используемых в радиовещательной аппаратуре. Каждая схема сопровождается объяснением принципа ее действия, приводятся основные параметры регулятора и рекомендации по применению схемы в конкретных аппаратах. Кроме того, изложены элементарные основы теории регулирования, необходимые для понимания материала книги. Книга рассчитана на подготовленных радиолюбителей, она может быть полезна радиоспециалистам, занятым конструированием радиоаппаратуры и студентам радиотехнических учебных заведений.

Информация о документе

Формат документа
PDF, DJVU
Кол-во страниц
121 страница
Загрузил(а)
Лицензия
Доступ
Всем

Информация о книге

Издательство
Связь
Год публикации
1968
Автор(ы)
Гендин Г. С.

Статистика просмотров

Статистика просмотров книги за 2025 год.